
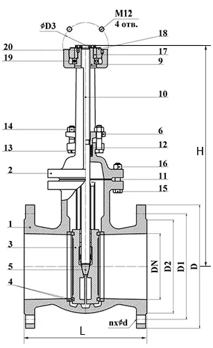
- DN - 250 мм
- L - 450 мм (строительная длина)
- H - 810 мм
- D - 390 мм
- D1 - 350 мм
- D2 - 320 мм
- d3 - 135 мм
- N-ØD - 12-22 мм
1, 2 - Корпус, Крышка - Серый чугун СЧ20
3 - Диски - Серый чугун СЧ20
4 - Уплотнительные кольца - Латунь ЛС59-1
5, 6 - Клин, Сальник - Серый чугун СЧ20
9 - Втулка резьбовая - Латунь ЛС59-1
10 - Шпиндель - Сталь 45
11 - Прокладка - Паронит ПОН-Б
12 - Сальниковые кольца - Графит
13, 15 - Болты - Сталь 20
14, 16 - Гайки - Сталь 20
17 - Втулка кулачковая - Сталь 20
18 - Втулка установочная - Сталь 20
19 - Подшипник упорный - -
20 - Винт - Сталь 45